Natisljive plošče
Področje tiskanja natisljive plošče od je od notranjega premera tiskalne plošče oddaljeno 17 mm (0,67 palca), od zunanjega premera pa 1 mm (0,04 palca).

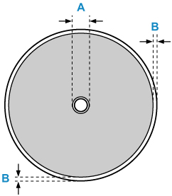
Natisljivo območje
- A: 17,0 mm (0,67 palca)
- B: 1,0 mm (0,04 palca)

S114
Področje tiskanja natisljive plošče od je od notranjega premera tiskalne plošče oddaljeno 17 mm (0,67 palca), od zunanjega premera pa 1 mm (0,04 palca).

Natisljivo območje